贷款五级分类不准确!陕西凤翔农商行领罚单
创始人
2025-12-18 05:40:44
0

【大河财立方消息】12月17日,国家金融监督管理总局宝鸡监管分局披露行政处罚信息公示表。

因贷款五级分类不准确,陕西凤翔农村商业银行被罚款30万元,时任该行营业部经理刘中卫被警告。

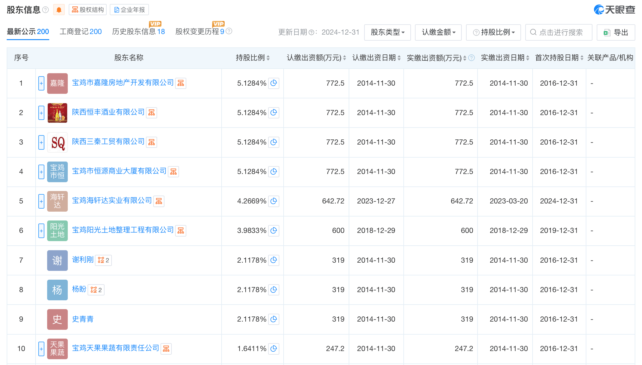
天眼查App显示,陕西凤翔农村商业银行成立于2005年,注册资本1.61亿元。股权结构显示,陕西凤翔农村商业银行由宝鸡市嘉隆房地产开发有限公司、陕西恒丰酒业有限公司、陕西三秦工贸有限公司等共同持股。

实习编辑:金怡杉 | 审核:李震 | 监审:古筝

相关内容

【前央行官员称:日本央行在...
【前央行官员称:日本央行在政府全力促增长之际应谨慎对待加息】日本央...
2025-12-25 08:57:16
前日本央行官员:应对加息保...
周三,日本央行前政策委员会委员Yutaka Harada指出,日本...
2025-12-25 08:57:16
央行:探索常态化制度安排 ...
证券时报记者 贺觉渊 近日,中国人民银行货币政策委员会召开2025...
2025-12-25 08:57:15
上海万联易达数融科技有限公...
天眼查显示,近日,上海万联易达数融科技有限公司成立,法定代表人为柏...
2025-12-25 08:57:14
天津顺锐先进技术产业有限公...
天眼查显示,近日,天津顺锐先进技术产业有限公司成立,法定代表人为赵...
2025-12-25 08:57:14
天津潮新农业科技有限公司成...
天眼查显示,近日,天津潮新农业科技有限公司成立,法定代表人为白艳华...
2025-12-25 08:57:13
深圳市海创德联商贸有限公司...
天眼查显示,近日,深圳市海创德联商贸有限公司成立,法定代表人为陈颖...
2025-12-25 08:57:12
艾普锐智能装备(上海)有限...
天眼查显示,近日,艾普锐智能装备(上海)有限公司成立,法定代表人为...
2025-12-25 08:57:12
广东易冷动力科技有限公司成...
天眼查显示,近日,广东易冷动力科技有限公司成立,法定代表人为康永亮...
2025-12-25 08:57:11

热门资讯

前日本央行官员:应对加息保持审... 周三,日本央行前政策委员会委员Yutaka Harada指出,日本央行在推进货币政策正常化的同时,应...
天津顺锐先进技术产业有限公司成... 天眼查显示,近日,天津顺锐先进技术产业有限公司成立,法定代表人为赵况楠,注册资本5800万人民币,由...
安徽海螺(ADR)(AHCHY... 截至2025年12月24日(美国东部时间)收盘,安徽海螺(ADR)(AHCHY.US)报收于14.9...
中国神华(ADR)(CSUAY... 截至2025年12月24日(美国东部时间)收盘,中国神华(ADR)(CSUAY.US)报收于19.9...
讯鸟软件(IFBD.US)12... 截至2025年12月24日(美国东部时间)收盘,讯鸟软件(IFBD.US)报收于0.91美元/股,上...
周三(12月24日)纽约尾盘,... 周三(12月24日)纽约尾盘,CME比特币期货BTC主力合约较周二纽约尾盘跌0.33%,报87400...
在岸人民币兑美元夜盘收报7.0... 每经AI快讯,12月25日,在岸人民币兑美元夜盘收报7.0160,较上一交易日夜盘收涨120个基点。...
COMEX黄金期货报4505.... 国际贵金属期货收盘涨跌不一。COMEX黄金期货持平,报4505.4美元/盎司;COMEX白银期货涨1...
村镇银行“有序重构”关键之年 自2006年诞生以来,村镇银行曾以迅猛扩张之势激活农村金融市场,成为服务“三农”与小微的重要力量,数...